
聯系人:肖經理
電話:0755-23197339
傳真:0755- 29859300
手機:13828771664
郵箱:aotuoshi@atus.email
地址:深圳市光明區公明街道上村社區蓮塘工業城B區第19棟101、第20棟
卡瑪斯55111型自卸汽車液壓系統的工作原理如圖3-6所示。
(一)液壓系統各部件的工作原理
(1)液壓分配器
液壓分配器的結構如圖3-7所示。
當舉升時,打開氣動開關,壓縮空氣進入氣動閥,按下電動開關,使電磁閥工作。電磁閥I工作后,將氣動閥打開。壓縮空氣將液壓分配器內的閥①向內推,使之將回油管口封住。由取力器液壓泵壓出的液壓油從閥①的桿縫通過,將液壓分配器內的閥②向外推,使閥②開啟,然后從出油管流出至舉升液壓缸,在壓力油的作用下將車箱舉起。

在下降時,變換電動開關位置,電磁閥I斷電,使電磁閥I工作,壓縮空氣將液壓分配器閥②向外推,這時閥巨)在彈簧的作用下,回到原位,不再堵住回油口,一液壓缸中的液壓油在車箱的重力作用下,通過回油管回到油箱。當中間停止時,將電動開關置于中間位置(切斷電源),電磁閥均不工作,液壓分配器閥
②在彈簧的作用下向內推,閥頭與閥座接合關閉回油管口,液壓油處于封閉狀態,故車箱不能下降,停在原位。
(2)安全閥
安全閥飾作用是對液壓系統各部件起保護作用,當液壓油的壓力超過安全閥彈簧的調正壓力時,安全閥被打開,液壓油從回油管回到油箱。

(3)限位閥
此閥平時處于關閉狀態,液壓油不能從此通過,當車箱舉到規定高度時,舉升液壓缸與限位閥調整螺釘接觸,強制打開限位閥,此時液壓油才能通過限位閥回到油箱,安裝限位閥的目的就是將車箱限制在規定的舉升角度上。
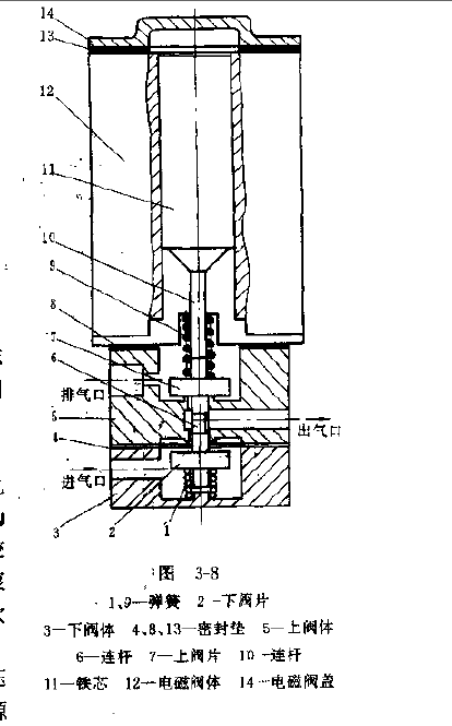
(4)電力氣動閥(電磁閥)
電磁閥的結構如圖3-8所示。電流通過線圈后,產生磁場將鐵芯下吸,推動連桿和閥片下移,使上閥片關閉,下閥片打開,壓縮空氣從連桿縫流過到液力分配器。當電流切斷后,在彈簧的作用下,使閥片上行關閉進氣孔,同時連桿推動上閥片上行,;使上閥片開啟,作用在液壓分配器上的壓縮空氣通過上閥片縫隙從排氣孔排入大氣。電磁閥控制液壓分配器閥②使車箱下降_,電磁閥I控制掖壓分配器閥①使車箱舉升,電磁閥II控制取力器。

(5)液壓系統的工作過程
舉升時、氣動開關打開,壓縮空氣進入氣動閥,電磁閥II工作。使取力器齒輪與變速箱齒輪嚙合,驅動液壓泵旋轉。電動開關按下,電磁閥II工作,壓縮空氣將液壓分配器閥①向內推,封住回油管口,液壓泵推出的液壓油流到舉并液壓缸,將液壓缸各環節依次推出,使車箱舉起。
下降起,變換電動開關位置,使電磁閥I工作,壓縮空氣將液壓分配器閥②向外推,此時電磁閥II電源切斷,液壓分配器內的閥①在彈簧的作用下回到原位,不再封住回油口,液壓油在車箱的重力作用下,通過油管,回到油箱。
中停時,電動開關置于中間位置,此時電源全部切斷,電磁閥I、II均不工作,液壓分配器閥2在彈簧的作用下向內推,關閉回油口,液壓油不能流出,故車箱停在原位。
