
聯系人:肖經理
電話:0755-23197339
傳真:0755- 29859300
手機:13828771664
郵箱:aotuoshi@atus.email
地址:深圳市光明區公明街道上村社區蓮塘工業城B區第19棟101、第20棟
隨著施工技術的不斷發展,混凝土泵車被廣泛用于各類混凝土建筑施工中口攪拌樓、混凝土運輸車、混凝上輸送泵車三位一體的施工結構將取代目前使用的中、小型攪拌機的施工結構。
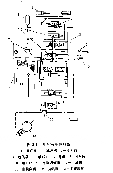
混凝土泵車的滑閥系統(分配閥)是混凝土泵車的一個重要系統。由于滑閥系統直接接觸混凝土,敵該系統負荷大、磨損快,運行一段時間后容易發生故障。滑閥動作失靈是較常見的故障,滑閥動作失靈有兩個原因;其一,由于機械系統出現故障而造成;其二,由于液壓系統出觀故障而造成。圖2-1是該車的液壓系統原理圖。
另外,還可出現下述故障:
(1)當所有開關都轉至滑閥工作狀態時,能聽到混凝上輸送泵車發出“嗚嗚”聲,而滑閥不動作;
(2)當用手摸液壓缸的進油管時,能感到油管油壓比較高(油管發脹),而滑閥不動作。

這時,應檢查以下內容。
(1)檢查順序閥的調整壓力。
(2)檢查蓄能器氣壓是否低。必要時,應用蓄能器氣體充氣設備正確測量氣壓,當50°時的壓力值P小于等于5.5Mpa時,必須充氣。
(3)即使當順序閥的壓力和蓄能器的充氣壓力正常,但問題仍然不能解決時,要按如下順序檢查。
首先清理滑閥,并涂以潤滑油,再進行無負荷操縱,把CP操縱開關調至OFF位置,將增壓閥換向,并計算直到滑閥不滑動時增加閥的換向次數。
如果故障出在機械系統,一般可從以下幾個方面檢查其故障產生的原因。
(1)當易損件閥桿和閥板達到磨損極限時。
(2)當閥桿密封件被損壞和磨損時。
(3)當滑動部分的空隙中存在有大塊泥漿H寸。
滑閥機能失靈,如果故障出在液壓系統,要逐項檢查如下項目。
(1)檢查減壓閥的壓力.并檢查操作系統。
(2)如果操作次數少于兩次,必須考慮滑閥的阻力是否大或者在液壓系統中有問題。
主液壓泵的轉速是10OOr/min -2OOOr/min,不管排出量手柄1所指示的刻度在15以上的任何點停止的時候,由增壓閥作用的滑閥工作次數在二次以上。都是正常的。
相關閱讀:齒輪泵維修
