
聯系人:肖經理
電話:0755-23197339
傳真:0755- 29859300
手機:13828771664
郵箱:aotuoshi@atus.email
地址:深圳市光明區公明街道上村社區蓮塘工業城B區第19棟101、第20棟
NK-160型全液壓汽車起重機,工作中出現重負荷時吊臂伸出無力,當伸縮控制閥手柄處于中位時,吊臂穩不住,出現慢慢回縮的故障,吊車無法安全正常工作。檢查外部管線接頭等未發現漏油,一般分析判斷為吊臂伸縮缸內活塞密封件密封不良,油液內泄造成。于是拆解吊臂伸縮缸,更換密封件,重裝后試吊,故障依舊,未能排除。

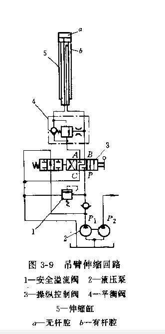
該機液壓系統吊臂伸縮回路,如圖.3-9所示。操作桐3與伸縮缸5之間裝有平衡閥4,平衡閥油路一端與操作閥B口相連。另一端通過活塞桿內部油道與液壓缸無桿腔a相通。操作閥A口通過活塞桿內油道與液壓缸有桿腔相通,并與平衡閥4控制油口相連。當操作閥處于圖示位置時、滑閥處于中位。P與B口封閉,來自液壓泵P1的工作油;通過操縱腳泄荷回油箱。操作閥A口、O口與油箱相通,無控制壓力,平衡閥4處于關閉狀態。同時B口也封閉,從而將液壓缸無桿腔內的油鎖閉,使伸出的吊臂保待在臂長的某一位置,吊臂在重為作用下、不能回縮。
若液壓缸活塞密封不良,a腔壓力油可竄入b腔,即使平衡閥關閉,也會產生吊臂回縮。現液壓缸內新換了密封圈,密封不良應予排除。若平衡閥內單向閥密封不嚴,主柱塞滑閥損傷密封不嚴,或閥卡住不能回位落座等原因不能閉鎖,但因操作閥B口關閉,吊臂也不應回縮。若同時B口關閉不嚴,油液內泄,a腔油將不能閉鎖而導致吊臂回縮。

基于此分析.按下列方法作進一步檢查。將吊臂伸出并負重,使操作閥處于中位,松開平衡閥至B口曲管接頭,排出余油后,至不再有油流出。觀察吊臂,仍然繼續回縮,而平衡閥無油繼續排出,說明平衡閥關閉嚴密,判斷故障仍在液壓缸內。
再次拆卸吊臂伸縮缸,拉出活塞桿,察看密封圈完好無損。經仔細檢查,發現活塞桿端部有兩處裂紋。活塞桿端結構,如圖3-10所示,B處裂紋呈現松動下陷趨勢。活塞桿端為組焊件,A, B兩處裂紋使無桿腔a與有桿腔b油路竄通。在液壓缸、吊臂及負荷重力作用下,a腔壓力油經A, B裂紋進入b腔,再經活塞桿內油道流入操作閥A口回油箱。維修人員裝配時曾發現B處裂紋,因不了解活塞桿油路結構,未作處理,致使換了密封圈后也未能排除故障口將裂紋處焊接修復裝配后,吊臂自動回縮故障得以消除。
